智慧路灯做无人机中转站?路灯简直是万能CP!

2018-06-06 16:42

经过近年的快速发展,LED照明产品已经较为普及。过去LED照明产品的推广通常都是打“节能”牌。在跨界整合的浪潮中,LED照明行业也在努力寻找借助跨界整合提高产品附加值的可能性。


其中,LED路灯频繁跨界整合,“LED路灯+”表现抢眼。例如,LED路灯+太阳能、LED路灯+物联网、LED路灯+充电桩等等。


英雄所见略同,正在费尽心思为物流无人机找安身之地的美国亚马逊也,也瞄上了遍地都是的灯杆。


近日,亚马逊公司获得一项美国发明专利授权,这项专利的内容详细揭示了他们的“LED路灯+无人机”技术方案。


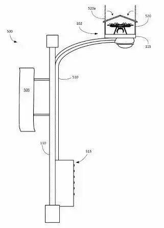
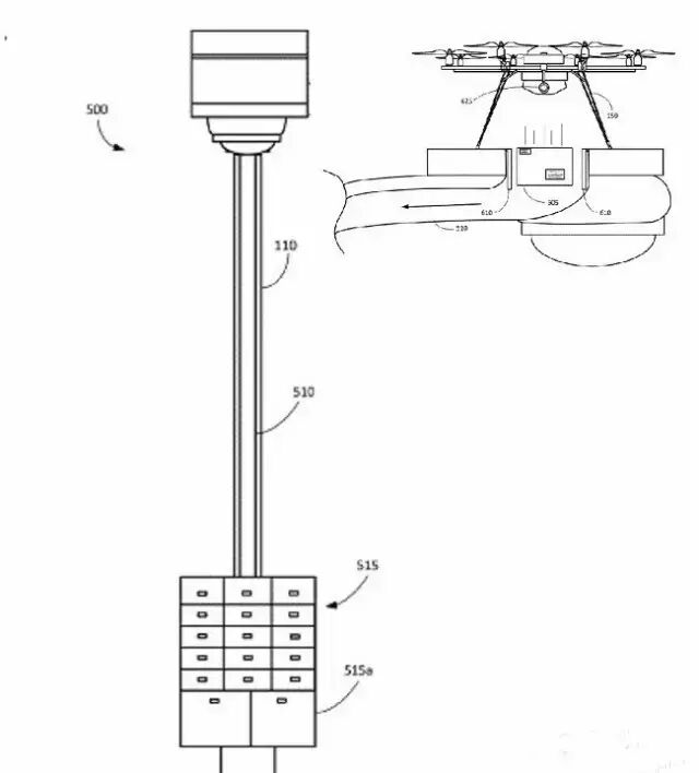
简单来说,就是在把LED路灯的头顶做成无人机的停机坪,这样无人机可以在城市的任何一条马路边上随时找到停机坪。


如果事情仅仅是这样,这件事就不够黑科技。


亚马逊的整体解决方案里面,包含了卫星、通讯基站、服务器、LED路灯、无人机。原本平凡的LED路灯是跟太空中的卫星在一起工作,瞬间高大上了。


LED路灯+无人机后,有太空卫星作同事,LED路灯也对自己提出了更高的要求,具备了更多的技能。


✈ 能为无人机提供充电、更换电池服务。


无人机续航需要充电,正好路灯拥有天生优势—“带电”,只需要在原来的灯杆上增加充电设施,不用再新开公共资源建充电设备,想想还是蛮合适哒!


✈  能为无人机加燃料。


✈  能传递包裹。脚底还配置了一个快递鸟箱。以后你会收到无人机发的短信,告知你有一件快递在你家门口马路边上第N根LED路灯里。哈哈!


看到了吗?快递是从LED路灯灯杆空心的肚子里,在重力作用下,直接滑进鸟箱。


更方便的是,亚马逊还大胆构想,未来的无人机可以设定将包裹自动投递到地板或屋顶上设置有活门的建筑物内,然后建筑物内本身内置的管道、电梯传输系统则可以自动将包裹送至用户指定的地点或者楼层。


✈  在恶劣天气,为无人机遮风挡雨,提供庇护。


讲了这么多,总算明白,难怪黑科技会看上智慧路灯,原来是为他们家无人机找了个贴心暖男。


LED行业的小伙伴们欢呼吧,为了我们万能的LED路灯!


不过,欢呼归欢呼,专利申请归申请,亚马逊的这一无人机场方案所涉及使用到的诸多公共设施还需要得到有关监管部门的批准才能够具体实施。另外,还有路灯杆的承重等神马的问题,就交给专业人员来解决吧。


除了LED路灯,该专利还描述显示,未来亚马逊的无人机或许将可以降落至广播塔、信号塔、路灯架、电线杆、办公楼、停车夹板,甚至是教堂塔尖等这些公共设施平台上的机场。


说到路灯和无人机,纵观照明行业,小编首先想到的是“无人机和智慧路灯”双引擎发展的雪莱特。今年年初,雪莱特公布拟募集资金总额不超过47150万元,主要投资与无人机生产及销售服务体系建设项目、智慧路灯生产及销售服务体系建设项目和LED照明产品营销体系建设项目。


随后,雪莱特围绕此战略方向展开业务。2015年5月,公司以1500万元增资曼塔智能,持有其51%的股权,进入无人机市场。而曼塔智能是国内无人机新秀,产品以消费级无人机为主,已经和亚马逊签订了战略合作协议,K3和M5等差异化新品将大规模出货,公司最大产能可以达到10万台/月。同时,投资1.48亿元,通过富顺光电布局智慧路灯,为智慧城市建设打下基础。目前公司已经在山西、东北、贵州和云南等省逐步建立智慧路灯,涵盖显示屏、PM2.5、监控和wifi等功能。


两方都有涉及,拥有如此优越条件的雪莱特,对于将无人机中转站设立在路灯上面,未来是否会参与布局,我们还是拭目以待吧。